AUSTRALIAN MATERIALS | MANUFACTURE IN MELBOURNE | SHIP NATIONWIDE

$204.79

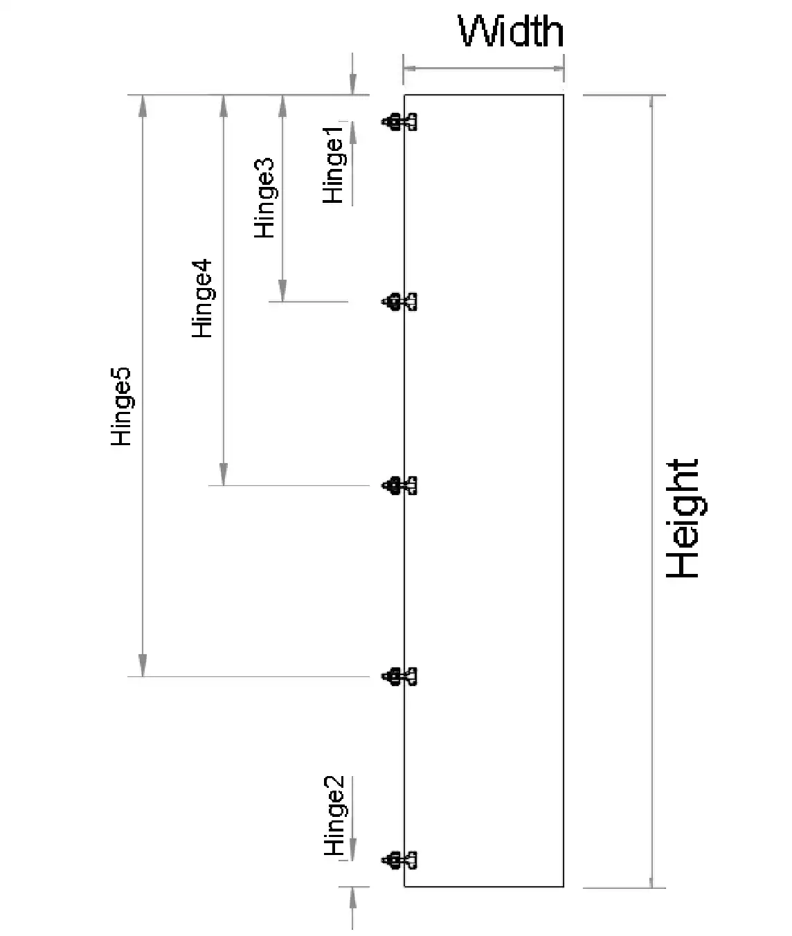
Tall Custom Custom 4 Hinges RH Door

Ensure exceptional stability and a perfect fit for your tall cabinetry with this custom right-hand door, engineered with four hinges to support its full height and prevent sagging over time

$204.79Incl. GST

150
300
600
1800
2000
2400
0
120
300
100
120
300
300
500
2000
300
1000
2400
Polar-White

Selected: Polar White / Matt

  • - Always check the measurement guidance by clicking on the Help (?) icons next to each input field.
  • - When using adjustable legs, ensure you also order a kicker (plinth) panel to cover the front view of the legs.
  • - If you have any exposed side views, we recommend ordering a side panel cut to the total height of the carcass + legs, to neatly cover the visible area.
Depot Addresses

Click to find closest Depot to you

Nationwide Delivery

Flatpack Shipping Estimator

Product Description:

Meet the demands of extra-tall cabinetry with this custom right-hand quad hinge door. Engineered for maximum height applications, this door delivers exceptional support for floor-to-ceiling storage solutions.

This premium Custom Hinge Door is proudly Flatpack manufactured in our Melbourne factory using high-quality Australian-made materials. Featuring quad hinge construction for superior stability, this right-opening door ensures reliable operation on the tallest cabinet installations.

Four strategically placed hinges eliminate any chance of door droop. Custom sizing matches your exact cabinet dimensions. Quality construction handles years of heavy use.

Specifications and Features:

- Configuration. Right-hand opening extra-tall door with quad hinge mounting points.

- Construction. Premium board with durable edge finishing on all visible surfaces.

- Hinge Ready. Pre-drilled for Blum soft close hinges.

- Sizing. Custom manufactured for extra-tall applications up to 2700mm.

- Materials. Australian-made moisture-resistant board with quality edge banding.

- DIY Friendly. See our Pre-drilled and labelled for easy assembly DIY tips for best results.

Important Notes:

- Verify ceiling height and clearances before ordering extra-tall doors.

- Four hinges ensure even weight distribution on tall, heavy doors.

FAQ:

What Are The Size Options For This Product?

This product is fully customisable through our online configurator. You can set the width from 150mm to 600mm and height from 1800mm to 2400mm. All dimensions can be adjusted in 1mm increments for a precise fit in your space.

What Materials Are Available?

Choose from White Melamine Chipboard, Budget Melamine, Premium Melamine, Polytec Colour range, or 2PAC Range for a painted finish. Use the dropdown menu above to select your material type, then click Select Colour to browse available finishes and preview your selection.

What Should I Know About Tall Cabinets?

Tall cabinets provide maximum storage capacity with floor-to-ceiling design. Consider your ceiling height when ordering. Adjustable internal shelving allows flexible storage configuration.

What Is The Maximum Shelf Load Capacity?

Standard shelves support up to 15kg evenly distributed. For heavier items, add centre shelf supports or use thicker shelf boards.